首页
关于我们
公司介绍
公司团队
新闻资讯
产品服务
服务介绍
案例展示
联系我们
首页
|
新闻资讯
|
贝龙科技斩获 “紧凑型热敏打印机芯” 专利,推动打印技术革新
|
贝龙科技斩获 “紧凑型热敏打印机芯” 专利,推动打印技术革新
作者:佚名
发布时间:2025-05-20
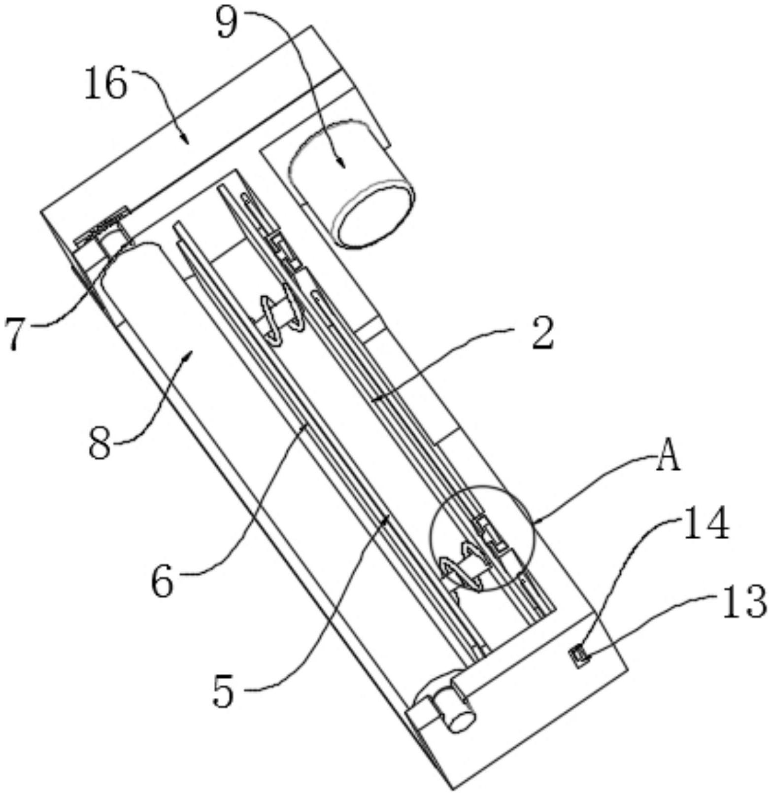
2022年03月22日,珠海市贝龙科技有限公司成功获得 “一种紧凑型热敏打印机芯” 专利授权,专利公开号为 CN216101077U,优化结构设计,提升打印性能与抗震动能力,推动行业革新。 。
(注:点击上图,跳转至专利页面)