首页
关于我们
公司介绍
公司团队
新闻资讯
产品服务
服务介绍
案例展示
联系我们
首页
|
新闻资讯
|
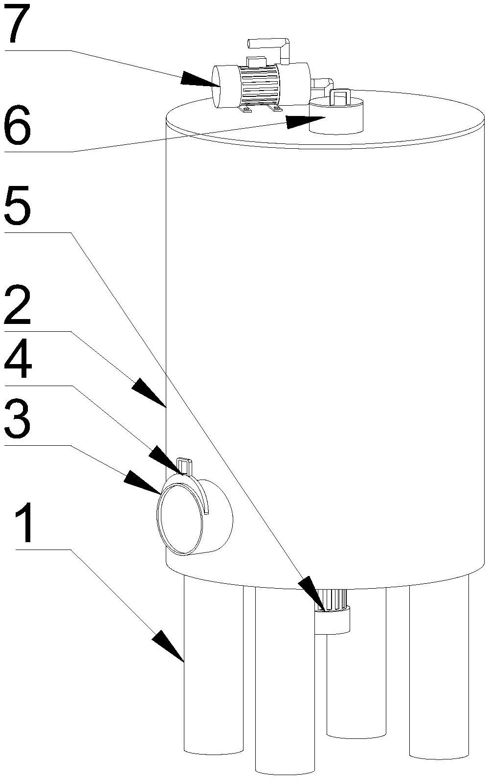
贝龙科技斩获 “可方便清理的混合机” 专利,革新混合设备清洁难题
|
贝龙科技斩获 “可方便清理的混合机” 专利,革新混合设备清洁难题
作者:佚名
发布时间:2025-06-12
2023年8月1日,珠海市贝龙科技有限公司的 “一种可方便清理的混合机” 专利(公开号:CN219445709U)正式获批,为混合机清理难题带来创新性解决方案。
(注:点击上图,跳转至专利页面)