首页
关于我们
公司介绍
公司团队
新闻资讯
产品服务
服务介绍
案例展示
联系我们
首页
|
新闻资讯
|
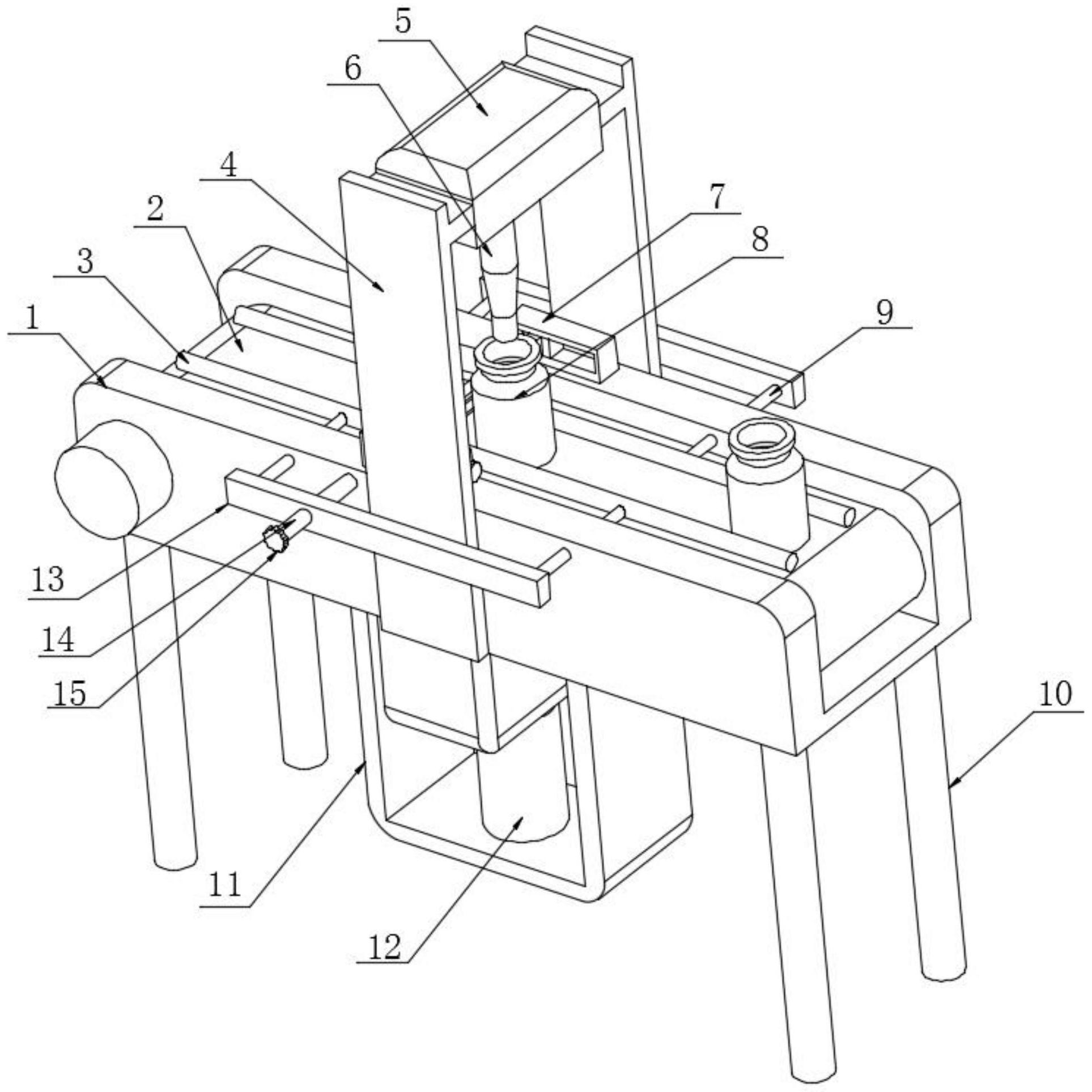
贝龙科技获“小型胶粘剂灌胶装置”专利
|
贝龙科技获“小型胶粘剂灌胶装置”专利
作者:佚名
发布时间:2025-06-12
2024年10月22日,贝龙科技获“小型胶粘剂灌胶装置”专利(公告号:CN221876592U)。
(注:点击上图,跳转至专利页面)