首页
关于我们
公司介绍
公司团队
新闻资讯
产品服务
服务介绍
案例展示
联系我们
首页
|
新闻资讯
|
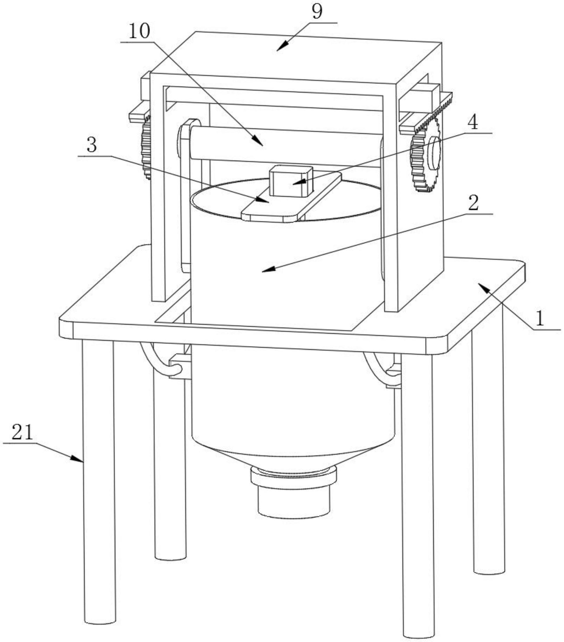
贝龙科技获“防粘附式胶粘剂搅拌釜”专利
|
贝龙科技获“防粘附式胶粘剂搅拌釜”专利
作者:佚名
发布时间:2025-06-12
2025年3月28日,贝龙科技获“防粘附式胶粘剂搅拌釜”专利(公告号:CN222677901U)。
(注:点击上图,跳转至专利页面)